ГОСТ 51267-99
Предисловие
- РАЗРАБОТАН Техническим комитетом ТК 204 «Спички и общетехнические требования к деревообработке»
ВНЕСЕН Госстандартом России - ПРИНЯТ И ВВЕДЕН В ДЕЙСТВИЕ Постановлением Госстандарта России от 20 Апреля 1999 г. № 130
- ВВЕДЕН ВПЕРВЫЕ
Спички
Метод определения чувствительности к воспламенению
Matches. Method of testing matches sensibility for ignition
Дата введения 2000-01-01
1 Область применения
Настоящий стандарт распространяется на спички и устанавливает метод определения их чувствительности к воспламенению.
Положения настоящего стандарта подлежат применению расположенными на территории Российской Федерации предприятиями, выпускающими спички, независимо от форм собственности и подчинения.
2 Нормативные ссылки
В настоящем стандарте использованы ссылки на следующие стандарты:
ГОСТ 166-89 Штангенциркуль. Технические условия
ГОСТ 427-75 Линейки измерительные металлические. Технические условия
ГОСТ 1820-85 Спички. Технические условия
ГОСТ 7328-82 Меры массы общего назначения и образцовые
ГОСТ 24104-88 Весы лабораторные общего назначения и образцовые. Общие технические условия
3 Требования
3.1 Степень чувствительности спичек к воспламенению приведена в таблице 1.
Таблица 1
| Степень чувствительности спичек к воспламенению | Чувствительность к воспламенению, H | |
| Спичек в картонных коробках | Спичек в комбинированных коробках | |
|
Повышенная Средняя Слабая |
Менее 0,4 0,4-0,9 Более 0,9 |
Менее 0,2 0,2-0,7 Более 0,7 |
3.2 Средства контроля и вспомогательные устройства
Весы лабораторные ВЛР-200 2-го класса точности по ГОСТ 24104.
Набор гирь Г-2-210 по ГОСТ 7328.
Штангенциркуль ШЦ 1,0-125 мм по ГОСТ 166.
Линейка металлическая по ГОСТ 427.
Прибор для определения чувствительности спичек к воспламенению.
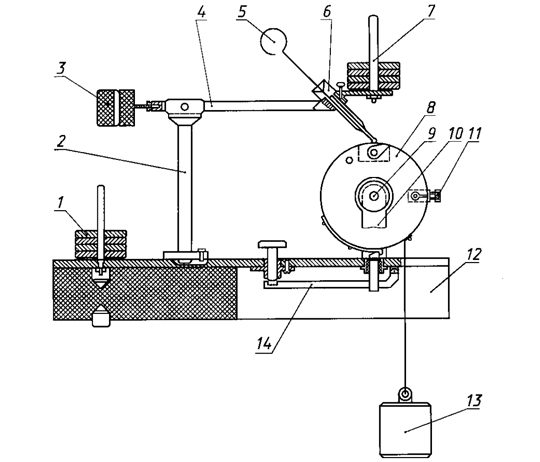
3.2.1 Конструкция прибора для определения чувствительности спичек к воспламенению представлена на рисунке 1. внешний вид — на рисунке 2.
1 — комплект грузиков; 2 — стоика для подвешивания коромысла; 3 — противовес; 4 — коромысло; 5 — игла для вытакивания сгоревшей спички; 6 — держатель спички; 7 — стержень дли грузиков; 8 — барабан с прижимным устройством; 9 — ось барабана; 10 — кронштейн для крепления барабана; 11 — приспособление для осевого смешения барабана; 12 — основание прибора; 13 груз для привода барабана в движение; 14 — пусковое устройство.
Рисунок 1
Рисунок 2 — Прибор для определения чувствительности спичек к воспламенению
3.2.2 Основные параметры и размеры прибора для определения чувствительности:
диапазон измерения силы — [(0,1-3,0) ± 0,01] Н;
угол наклона спичек к поверхности с нанесенной фосфорной массой — 20-25°;
скорость движения барабана — 0,3-0,05 м/с;
абсолютная погрешность массы грузиков — 0.5 г;
абсолютная погрешность усилия — 0,01 (1) Н (г);
габаритные размеры — 300*150*355 мм;
масса — 4200 г.
3.2.3 Прибор должен быть изготовлен в соответствии с требованиями настоящего стандарта по рабочим чертежам, утвержденным в установленном порядке.
3.3 Порядок подготовки образцов к испытаниям
3.3.1 Для определения чувствительности спичек к воспламенению на готовой продукции от выборки спичек, предназначенной для контроля качества продукции, случайным образом отбирают пять коробок со спичками по ГОСТ 1820. из которых отбирают по пять спичек случайным образом.
3.3.2 Для определения чувствительности спичек к воспламенению в процессе их изготовлении отбор образцов проводят от автоматов или набивочных машин аналогично отбору образцов по 3.3.1.
Все отобранные спички должны соответствовать требованиям ГОСТ 1820.
3.3.3 От наружной части спичечной коробки по ГОСТ 1820 берут боковую поверхность с равномерно нанесенной на нее фосфорной массой. Не допускается наличие любых морщин и просветов бумаги под намазкой.
3.4 Порядок проведения испытаний
3.4.1 С целью определения ориентировочного значения чувствительности спичек к воспламенению проводят определительные испытания образцов спичек. Испытания проводят на пяти спичках, отобранных по 3.3.1.
3.4.2 Для проведения испытаний на приборе с помощью прижимного устройства закрепляют боковую поверхность спичечной коробки по 3.3.3, обрезанную на ширину, позволяющую плотно закрепить ее в барабане прибора.
Вставленную в прибор спичку закрепляют в держателе так, чтобы ее головка не касалась поверхности с нанесенной фосфорной массой. Для этого прибор приводят в равновесное состояние с помощью установочных винтов с учетом массы вставленной в держатель спички.
На коромысло прибора дают определенную нагружу грузиками, надеваемыми на стержень коромысла. Нажатием пусковой кнопки барабан приводится в движение.
3.4.3 В случае невоспламенения спички барабан возвращается в исходное положение, спичка в держателе поворачивается на несколько градусов, а барабан с помощью приспособления смешается вправо или влево с тем. чтобы изменить место соприкосновения спичечной головки с фосфорной массой. Затем на спичку дают дополнительную нагрузку, равную 10 г, и испытания повторяют с постепенным увеличением нагрузки до воспламенения спички.
3.4.4 При воспламенении спички фиксируют величину нагрузки и проводят испытания следующей спички с нагрузкой на 10 г меньше.
Определяют среднее арифметическое значение ориентировочной чувствительности для данной выборки.
3.4.5 Кош рольные испытания проводят на двадцати спичках, отобранных согласно 3.3.1 и 3.3.2.
Испытания начинают при нагрузке на 10 г меньше ориентировочной, полученной при определительных испытаниях.
3.4.6 Порядок проведения контрольных испытаний аналогичен порядку проведения определительных испытаний.
3.4.7 Испытания спичек на чувствительность их к воспламенению проводят одновременно с проверкой качества спичек на соответствие требованиям ГОСТ 1820 и при изменении репептур спичечной массы.
3.5 Правила обработки результатов испытаний
3.5.1 Чувствительность спичек к воспламенению F, H, рассчитывают по формуле
F = mA (1)
где m — масса грузика, кг;
А — ускорение, м/с2 (9,8 м/с2).
3.5.2 За фактическую величину чувствительности спичек к воспламенению принимают среднее арифметическое значение результатов контрольных испытаний. При подсчете результатов неза-горевшиеся спички не учитываю!.
3.6 Правила оформления результатов испытаний
3.6.1 Результаты испытаний спичек на чувствительность к воспламенению заносят в журнал. При необходимости может быть оформлен отдельный документ с результатами испытаний.
3.6.2 Документ или запись в журнале должны быть подписаны лицами, проводившими испытания
Ключевые слова: спички, чувствительность, степень чувствительности, воспламенение, прибор для определения чувствительности к воспламенению, определительные испытания, контрольные испытания


